:::
  • ENGLISH
  • 網站導覽
:::

東吳專利—距離量測及顯示裝置

  • 06/01/2022
  • |
  • 校園頭條
  • |
  • 資料提供:研究事務組

【研究事務組訊】

發明人:陳秋民副教授、謝沅志、陳勁凱、高源鴻、林逸群、吳承勲

一般學校通常都有體適能測驗的科目,其中有關立定跳遠的項目,當受測者跳出一段趾離後落地,對於該距離的長度,通常都是用尺來量測,但由於不夠精準與不便,乃有利用特製的毯子,在毯子或地墊上設有刻度,雖然較方便,但很快就造成損壞。

本校物理系陳秋民副教授及其研究團隊為了改善前述測量上的不便,提供一種耐用且精確的測量設備,經過實際的測試後,提出了一種利用光電原理的「光柵式距離量測裝置。」

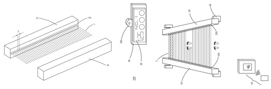
一、一發射部,具有複數個發光單元,各發光單元設置在每一固定間隔處,並由各發光單元發出一光束。

二、一本體,一側樞接警示板組,底部具有移動單元。

三、一接收部,對應各發光單元設置複數個受光單元,各受光單元對應各發光單元接收各光束形成光柵。

四、一控制單元,根據各光束被遮蔽的狀態,計算出距離數值。

五、一顯示模組,顯示距離數值和相關資料如受測人員名字。

利用控制單元的一掃瞄單元掃瞄各光束被遮蔽的狀態,即被遮蔽的光東數或光束位置,經控制單元運算產生一數值信號,並於顯示模組顯示。當完成一組被遮蔽光東數的掃描,取得相對村應的數值顯示或記錄後,控制單元隨即再進行下一次的掃描。

如圖所示:

/

 

藉由本裝置的距離量測裝置可以精確測量一距離長度,並利用一終端顯示單元將所測得的相關數值即時顯示出來,方便安裝與收納。

【專利名稱】距離量測及顯示裝置

【專利證號】中華民國新型第M606861

【專利摘要】本新型揭露一種距離量測與顯示裝置,包含﹔一發射部,具有複數個發光單元,各發光單元設置在每一固定間隔處,並由各發光單元發出一光束;一接收部對應各發光單元設置複數個受光單元,各受光單元對應各發光單元接收各光束形成光柵﹔一控制單元,根據各光束被遮蔽的狀態,計算出一距離數值;以及一顯示模組,顯示距離數值和相關資料如受測人員名字。 藉由本裝置的距離量測裝置可以精確測量一距離長度,並利用一終端顯示單元將所測得的相關數值即時顯示出來,方便安裝與收納。